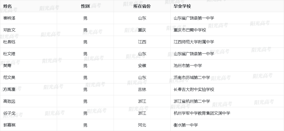
今日,阳光高考网公示了2023年保送生资格名单,据名单显示共有1917人成功“上岸”,其中五大学科竞赛类保送生265人,外语类保送生1652人。 学科竞赛保送生中:
数学竞赛2023集训队19人,2022集训队32人,2021集训队13人; 物理竞赛2023集训队37人,2022集训队6人; 化学竞赛2023集训队47人; 生物竞赛2023集训队48人,2022集训队9人; 信息学竞赛2023集训队35人,2022集训队19人。
数学国集名单

物理国集名单




化学国集名单

生物国集名单






信息学国集名单

