在上海家长圈中,一贯制学校始终备受关注。这类学校提供从幼儿园到高中的全程教育,学生无需在升学阶段频繁更换学校,既减轻了择校压力,也缓解了家庭焦虑。
许多家庭选择一贯制学校,不仅因其直升通道的便利,更看重教育理念与课程体系的一贯性——从教学方法到培养目标都保持连贯,助力学生实现各阶段的平稳过渡与持续发展。
什么是一贯制学校
首先,我们来梳理下一贯制学校的主要类型:
9年一贯制:涵盖小学与初中阶段(1-9年级)
12年一贯制:涵盖小学、初中及高中阶段(1-12年级)
15年一贯制:涵盖幼儿园至高中全阶段(幼儿园-12年级)
优势一:减轻升学压力
选择一贯制学校的一大优势在于减轻升学焦虑。
学生在小升初、初升高阶段有机会通过免试直升渠道继续学业,符合条件者甚至可避开摇号环节。
优势二:保留插班可能
此外,这类学校也为中途转轨提供了可能性。目前不少国际学校主要面向九年级招生,让许多八年级即计划转轨的家庭面临选择限制。
值得关注的是,部分设有初中部的国际学校仍会保留少量插班名额,或开放"8升9"招生通道。
对于计划在初中阶段转入国际课程的学生,建议优先考虑开设初中部的国际学校。
如此既能完成义务教育阶段的学习,又能提前融入国际教育环境,为后续学业发展实现平稳过渡。
徐汇区一贯制学校
徐汇有5所真正意义上的九年一贯制学校,且清一色为公办热门校。
上汇实验学校,2021年开办,自带“上中系”基因,叠加特殊的招生通道,在家长群里的热度常年居高不下。
西南位育实验学校、复旦大学附属徐汇实验学校,2024年刚刚完成学制升级,正式纳入九年一贯行列。

世外小学虽可直升世外中学,但学制上仍属“小初衔接”而非九年一贯;
黄浦区一贯制学校
黄浦的一贯制学校共3所,其中公办1所、民办2所。
民办永昌学校小学部与初中部口碑俱佳,是家长圈常谈论的;
康德双语实验学校因有高中部,实为十二年一贯,并非纯粹九年制。

长宁区一贯制学校
长宁区把小学到初中打包到底的学校一共4所,公办占3席,民办1席。
包玉刚实验是家长群里永远的流量担当;老牌建青实验扎根长宁多年;开元学校近年势头生猛,初中部尤其出圈,让原本观望的家庭也开始倒戈。西郊则把小学、初中、高中一口气拉到十二年。

静安区一贯制学校
静安区九年一贯制公办学校共六所。静教院附校凭借卓越的教育质量与办学声誉,持续位居区域首位,区外生源需求尤为旺盛;上海戏剧学院附属静安学校依托高校资源,在课程体系、师资配备及校园设施等方面表现突出,已逐步成为区域内又一优质选择。

虹口区一贯制学校
虹口区目前共有5所公办一贯制学校,均为公办性质。
长青学校作为区内老牌九年一贯制学校,一直是家长们的热门选择;虹口实验学校近年来发展迅速,初中部表现尤为突出;北郊学校虽然知名度不高,但教学质量稳定优秀;
欧阳学校由原霍山学校、培华学校等合并组建,现由世外集团托管;上外附属北外滩学校是今年新开办的学校,与上外附中有着密切合作关系,未来发展值得期待。

杨浦区一贯制学校
杨浦区现有14所一贯制学校,包括10所公办和4所民办。
复旦二附校由原复旦附小和复旦二附中合并组建,是复旦大学与杨浦区合作共建的优质公立九年一贯制学校。昆明学校和上音实验凭借其优质初中部也备受青睐。
2024年新开办的江浦实验学校和交大附中杨浦实验学校中,后者初中部采用划片电脑派位方式招生。
同济附属新江湾城实验学校自2022年成立以来口碑良好。民办学校中,同大实验、杨浦双语和长阳实验是区内热门选择。


普陀区一贯制学校
普陀区现有24所一贯制学校,包括21所公办和3所民办。
公办学校中,江宁学校以快乐教育和初中部实力见长,家长口碑较好;中远实验学校中考成绩优异,长期位居前列;晋元附校近年管理趋严,办学水平稳步提升;曹二附属学校依托曹杨二中资源,表现稳定;华外实验由华师大、区政府和教育局联合支持,享有优质资源。此外,新开办的华二普陀实验学校由华二校长周彬兼任校长,备受关注。
民办方面,新黄浦实验学校倡导快乐教育,办学反响良好;培佳双语学校综合实力强,是区内热门选择之一。
闵行区 九年一贯制学校
闵行区现有33所一贯制学校,其中公办21所,民办12所。在公办学校中,上师大康城实验学校、文来实验学校、世外浦江外国语学校、七宝文来学校和复旦附属闵行实验学校凭借优质的教育资源和良好的发展前景,成为家长们的热门选择。
近年来,莘城学校和莘光学校通过教学改革取得显著成效,2024年中考成绩尤为突出。
民办教育方面,协和双语、美高双语、诺达双语等学校以国际化课程体系和多元教育模式,为家长提供了更多优质选择。




浦东新区一贯制学校
浦东新区现有45所一贯制学校,包括29所公办、15所民办和1所直属学校(上海实验学校)。需要注意的是,2025年起将实施新的入学政策调整。
浦东新区的民办教育整体水平较高,其中平和学校、正达外国语和惠立学校是家长圈中口碑最好的几所。尚德实验、未来科技和中芯学校凭借特色课程也赢得了不少关注。协和双语和万科双语则以出色的硬件设施和教学质量见长。
金苹果学校、宏文学校、更新学校和沪港学校多年来保持稳定发展,办学成绩扎实可靠。近年来,启能东方学校和康德学校发展势头良好,正逐渐成为新区民办教育的新生力量。





宝山区一贯制学校
宝山区现有41所一贯制学校,其中公办35所,民办6所。该区教育资源丰富,汇集了多所高校附属学校,包括上大附属宝山外国语、上师大经纬实验、上外附属宝山双语等,这些学校依托高校优质资源,办学特色鲜明,发展潜力突出。
民办教育方面,至德实验、华曜宝山实验和宝山世外凭借雄厚背景迅速崛起,成为区内热门选择。老牌民办锦秋学校和同洲模范学校凭借多年办学积淀,在家长中保持着良好口碑。
嘉定区一贯制学校
嘉定区现有22所一贯制学校,包括17所公办和5所民办。该区教育资源持续优化,既有传统强校,也不乏新兴优质学校。
公办学校中,上外嘉定外国语学校和疁城实验学校凭借稳定的教学质量赢得良好口碑。近年来新建的中科院上海实验学校、宋校嘉定实验学校和华师大第五附属学校起点较高,发展迅速。2024年新开办的上海市实验学校嘉定新城分校和上海大学附属嘉定实验学校依托名校资源,招生热度持续攀升。
民办教育方面,桃李园实验学校成绩突出,华旭双语和嘉定世外虽开办时间不长,但凭借优质教育资源获得广泛认可。怀少学校经过定位调整,目前性价比较高,成为家长关注的选择之一。



松江区一贯制学校
松江区现有38所一贯制学校,其中公办35所,民办3所。该区高校附属学校表现亮眼,上外松外和东华附属实验虽开办时间不长,但已成为热门选择。近年新建的佘山外国语、上师大附属松江实验等学校硬件设施优良,发展潜力大。
民办方面,西外和赫贤提供十二年一贯国际教育,西外同时设有体制内班级。爱菊学校新校区将于9月启用,成为该品牌规模最大的一贯制学校。
金山区一贯制学校
金山区现有11所一贯制学校,包括8所公办和3所民办。公办学校中华师大二附中金山实验学校凭借名校背景,自开办以来就备受青睐,现已成为区内热门选择。
民办方面,金盟学校办学实力突出,初中部成绩优异。金山世外学校虽开办不久,但凭借品牌影响力迅速成为全区最受欢迎的学校之一。
杭州湾双语学校与星河湾双语学校一脉相承,主要提供国际化教育路线。

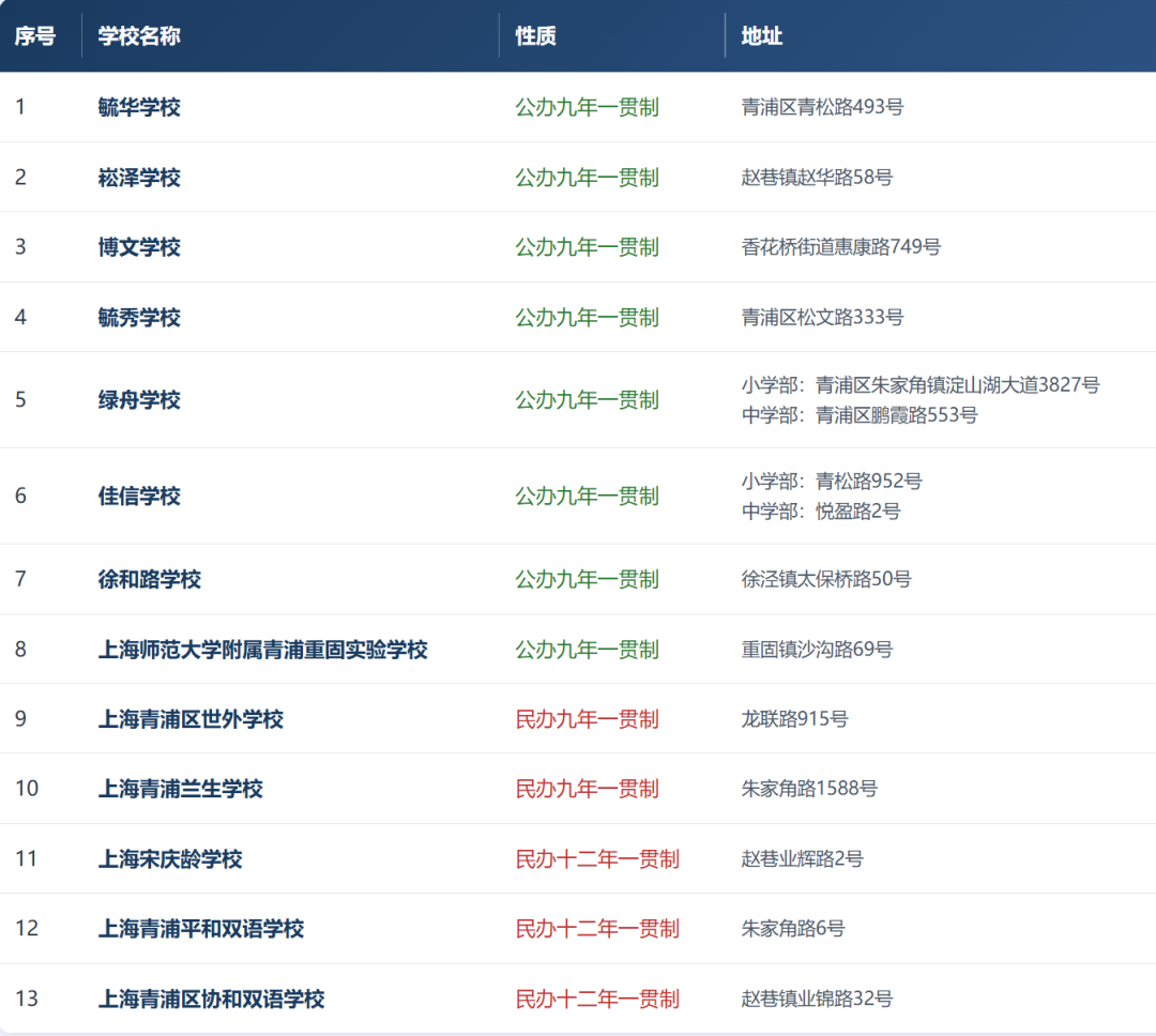
青浦区一贯制学校
青浦区现有13所一贯制学校,其中公办8所,民办5所。公办学校以老牌优质校为主,今年9月新开办的绿舟学校设施完善、师资优秀,发展前景良好。
上海师范大学附属青浦重固学校由原重固小学和重固中学合并组建,引入上师大优质教育资源。
民办学校均为知名教育品牌,包括世外、兰生、宋庆龄、平和、协和等实力强劲的办学机构,在区内享有较高声誉。

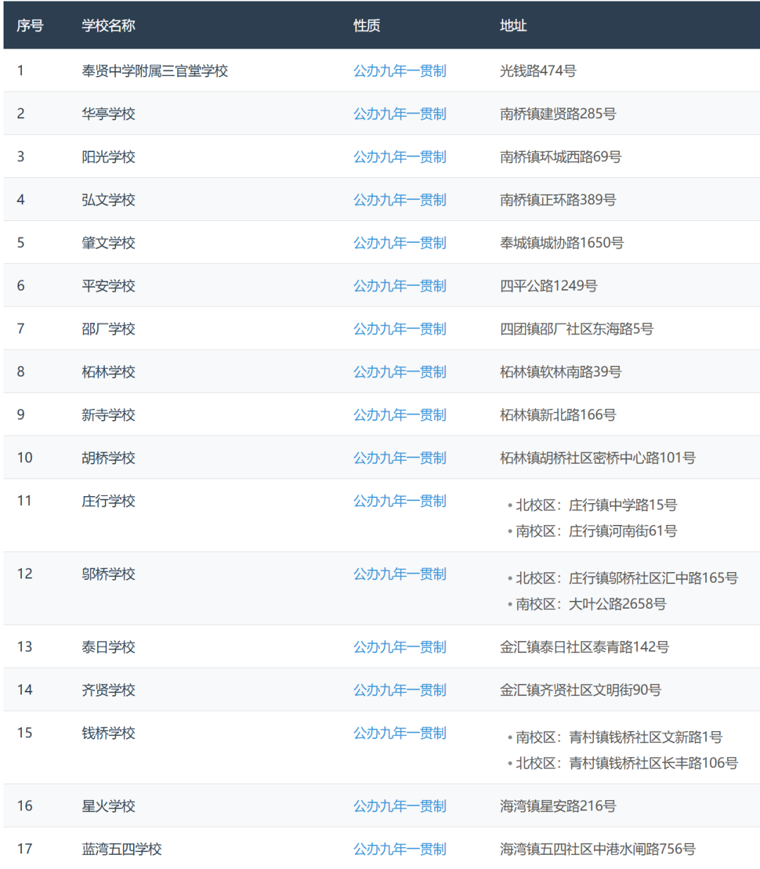
奉贤区一贯制学校
奉贤区现有22所一贯制学校,包括21所公办和2所民办。
公办学校多为区域老牌优质校,其中上海大学附属奉贤实验学校作为2023年新办校,依托高校资源发展潜力较大。
民办教育方面,奉贤区世外学校提供九年一贯制教育,设有博华校区(原博华双语学校)和2025年新开的庄行校区,均隶属于上海世外教育集团。


崇明区 九年一贯制学校
崇明区现有7所一贯制学校,包括6所公办和1所民办。
其中,上实东滩学校凭借面向市区和本区的双重招生政策,成为区内最受欢迎的学校。


